Vw Sharan Door Lock Problems

Vw Door Lock Control Module Fix Repair Simple Easy Repair Youtube

Vw Door Lock Control Module Fix Repair Simple Easy Repair Youtube

Door Lock Repair Kit For Vw Sharan Seata Lhambra For Ford Galaxy 6k0837223a Locks Hardware Aliexpress

Door Lock Repair Kit For Vw Sharan Seata Lhambra For Ford Galaxy 6k0837223a Locks Hardware Aliexpress

Ford Galaxy Vw Sharan Key Programming Procedure Fail Youtube

Ford Galaxy Vw Sharan Key Programming Procedure Fail Youtube

How To Open A Vw Door That Won T Open From Inside Or Outside Youtube

How To Open A Vw Door That Won T Open From Inside Or Outside Youtube

Door Lock Repair Set Kit For Vw Sharan Seat Alhambra Ford Galaxy 95 7m0898083a For Sale Online Ebay

Door Lock Repair Set Kit For Vw Sharan Seat Alhambra Ford Galaxy 95 7m0898083a For Sale Online Ebay

Seat Alhambra Vw Sharan Ford Galaxy Door Handle Repair Youtube

Seat Alhambra Vw Sharan Ford Galaxy Door Handle Repair Youtube

Seat Alhambra Vw Sharan Ford Galaxy Door Handle Repair Youtube

Will have to strip down door trims and examine.

Vw sharan door lock problems.

Jan 3 2013 7 years ago probably a broken wire s inside door. Vw sharan front door lock. After re assembly and refit at least i can now lock all the doors from the inside manually. In the following overview you will find the most common problems for the vw sharan for which volkswagen has announced a recall through the eu rapex system.

For recalls and faults found in the uk scroll down. I have bought the part how do i fix it in. Parts mentioned in this problem. My vw sharan locks itself after 30 seconds even.

Enjoy the videos and music you love upload original content and share it all with friends family and the world on youtube. Browse categories answer questions. If the problem is corrected in time it may not affect the overall reliability of your vw sharan. While the door card was off i probed all the door lock terminals to main b post connector pins checking for continuity and shorts and didn t find any problems.

It only locks the same when i tried to lock the car with the key in the lock. Door lock see all sharan door lock problems replies and fixes. Same can be applied to this cars twin brother seat alhambra. I have checked the door pillar for broken wires as i had to fix the electric windows cable a while ago.

Vw sharan central locking problem. Volkswagen touareg car and truck. I have checked the fuses changed the battery in the key and tried to lock the car from the boot but still the same. However the fault can often remain unresolved because the previous owner didn t know about the recall or ignored the manufacturer s letter.

Right here s your problem the door swiches are incorperated into the door locks and thats why your interior light does not come on therefore the vehicle thinks the doors haven t opened this will cause the alarm to recycle the door locking signal. Want answer 0. Posted by adz00786 on jul 23 2008. Posted on apr 05 2010.

Vw A4 Faulty Door Lock Module Actuator Youtube

Vw A4 Faulty Door Lock Module Actuator Youtube

Why Your Vw Door Won T Open Youtube

Why Your Vw Door Won T Open Youtube

Car Iron Door Lock Cylinder Repair Kit For Vw Sharan Seat Alhambra Ford Galaxy Front Left Or Right Oe 6k0837223a 5 Pcs 1set Locks Hardware Aliexpress

Car Iron Door Lock Cylinder Repair Kit For Vw Sharan Seat Alhambra Ford Galaxy Front Left Or Right Oe 6k0837223a 5 Pcs 1set Locks Hardware Aliexpress

Need Help Interior Locking Doesn T Work Seat Ibiza Door Lock Problem Youtube

Need Help Interior Locking Doesn T Work Seat Ibiza Door Lock Problem Youtube

1set Door Lock Repair Set Kit For Vw Sharan Seat Alhambra Ford Galaxy 42 5mm Pin Locks Hardware Aliexpress

1set Door Lock Repair Set Kit For Vw Sharan Seat Alhambra Ford Galaxy 42 5mm Pin Locks Hardware Aliexpress

Door Lock Barrel Cylinder Repair Kit Front Vw Sharan Seat Alhambra Ford Galaxy Ebay

Door Lock Barrel Cylinder Repair Kit Front Vw Sharan Seat Alhambra Ford Galaxy Ebay

How To Replace Boot Trunk Lock In Vw Sharan 7n Seat Alhambra Youtube

How To Replace Boot Trunk Lock In Vw Sharan 7n Seat Alhambra Youtube

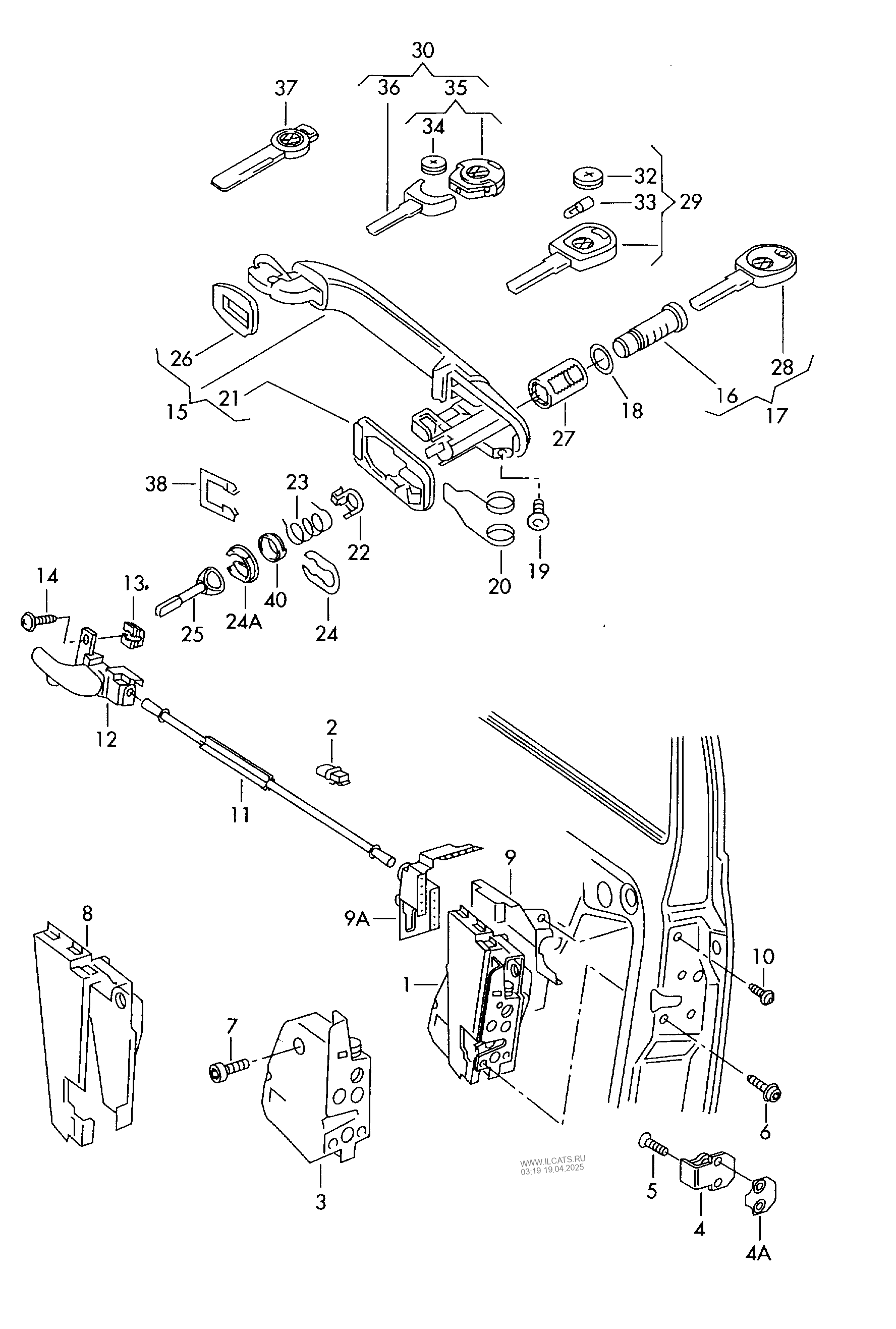
Door Lock Vw Sharan Syncro 4motion

Door Lock Vw Sharan Syncro 4motion

Car Iron Door Lock Cylinder Repair Kit For Vw Sharan Seat Alhambra For Ford Galaxy Front Left Right Oe 6k0837223a Exterior Door Handles Aliexpress

Car Iron Door Lock Cylinder Repair Kit For Vw Sharan Seat Alhambra For Ford Galaxy Front Left Right Oe 6k0837223a Exterior Door Handles Aliexpress

6k0837223a For Vw Sharan Seat Alhambra Ford Galaxy Front Left Right Door Lock Barrel Repair Pod Paddle Yesterday S Price Us 4 Seat Alhambra Vw Sharan Galaxy

6k0837223a For Vw Sharan Seat Alhambra Ford Galaxy Front Left Right Door Lock Barrel Repair Pod Paddle Yesterday S Price Us 4 Seat Alhambra Vw Sharan Galaxy

02 Cabrio Driver Side Door Lock Won T Turn With Key Volkswagen Forum Vw Forums For Volkwagen Enthusiasts

02 Cabrio Driver Side Door Lock Won T Turn With Key Volkswagen Forum Vw Forums For Volkwagen Enthusiasts

My Vw Alarm Goes Off By Itself Articles Deutsche Auto Parts

My Vw Alarm Goes Off By Itself Articles Deutsche Auto Parts

Volkswagen Touran 2003 2015 Door Panel Removal Youtube

Volkswagen Touran 2003 2015 Door Panel Removal Youtube

Vw16lock Volkswagen Sharan Ford Galaxy Door Lock Repair Kit

Vw16lock Volkswagen Sharan Ford Galaxy Door Lock Repair Kit

How To Remove Rear Sliding Door Trim Vw Sharan 7n Seat Alhambra Youtube

How To Remove Rear Sliding Door Trim Vw Sharan 7n Seat Alhambra Youtube

Door Lock Ford Buy Door Lock Ford With Free Shipping On Aliexpress Version

Door Lock Ford Buy Door Lock Ford With Free Shipping On Aliexpress Version

Vw A5 Driver Door Wiring Harness Replacement Part 1 Youtube

Vw A5 Driver Door Wiring Harness Replacement Part 1 Youtube

Volkswagen Golf Door Lock Cylinder Repair And Assembly Tutorial Youtube

Volkswagen Golf Door Lock Cylinder Repair And Assembly Tutorial Youtube

3

3

2sets 6k0837223a For Vw Sharan Seat Alhambra Ford Galaxy Front Left Right Door Lock Barrel Repair Kit 5pcs Buy At The Price Of 5 99 In Aliexpress Com Imall Com

2sets 6k0837223a For Vw Sharan Seat Alhambra Ford Galaxy Front Left Right Door Lock Barrel Repair Kit 5pcs Buy At The Price Of 5 99 In Aliexpress Com Imall Com

Door Lock Repair Kit Front Left Right For Ford Galaxy Seat Alhambra Vw Sharan Ebay

Door Lock Repair Kit Front Left Right For Ford Galaxy Seat Alhambra Vw Sharan Ebay

How To Remove Trim On A Back Of Vw Sharan 7n Seat Alhambra Access To Rear Blower And Door Motor Youtube

How To Remove Trim On A Back Of Vw Sharan 7n Seat Alhambra Access To Rear Blower And Door Motor Youtube

Worldwide Delivery Vw Sharan Lock In Nabara Online

Worldwide Delivery Vw Sharan Lock In Nabara Online

Ford Galaxy Repairing Broken Door Wiring Common Faults And Problems Knowledge Base Ford And Volkswagen Mpv Forums

Ford Galaxy Repairing Broken Door Wiring Common Faults And Problems Knowledge Base Ford And Volkswagen Mpv Forums

Best Value Vw Lock Cylinder Great Deals On Vw Lock Cylinder From Global Vw Lock Cylinder Sellers 1 On Aliexpress

Best Value Vw Lock Cylinder Great Deals On Vw Lock Cylinder From Global Vw Lock Cylinder Sellers 1 On Aliexpress

Vw Sharan Mk2 2010 Rear Tailgate Lock Mechanism 7p0827505g Repair Kit Actuator Ebay

Vw Sharan Mk2 2010 Rear Tailgate Lock Mechanism 7p0827505g Repair Kit Actuator Ebay

Troubleshooting What To Do When Your Volkswagen Remote Control Vehicle Key Uncategorized

Troubleshooting What To Do When Your Volkswagen Remote Control Vehicle Key Uncategorized

Volkswagen Sharan Common Problems Car Recalls Eu

Volkswagen Sharan Common Problems Car Recalls Eu

Vw Golf Lock Cylinder Housing Assembly Tutorial Youtube

Vw Golf Lock Cylinder Housing Assembly Tutorial Youtube

How To Lock A Vw Without Setting The Alarm Rmorrison Net

How To Lock A Vw Without Setting The Alarm Rmorrison Net

Vw Tiguan Tailgate Lock Failure Doors Tailgate Not Closing Do Not Remove Entire Trim To Change Lock Youtube

Vw Tiguan Tailgate Lock Failure Doors Tailgate Not Closing Do Not Remove Entire Trim To Change Lock Youtube

5k1837015 Car Latch Door Lock Actuator Front Fear Left Right For Vw Sharan 7n Polo 6r Beetle Cabrio For Seat Alhambra Leon 5n Aliexpress

5k1837015 Car Latch Door Lock Actuator Front Fear Left Right For Vw Sharan 7n Polo 6r Beetle Cabrio For Seat Alhambra Leon 5n Aliexpress

Door Handle Problems Ford Galaxy Vw Sharan Seat Alhambra Ford And Volkswagen Mpv Forums

Door Handle Problems Ford Galaxy Vw Sharan Seat Alhambra Ford And Volkswagen Mpv Forums

Vw Golf Jetta Mk4 Door Drop Re Aligning A Door Youtube

Vw Golf Jetta Mk4 Door Drop Re Aligning A Door Youtube

Electronic Child Lock Problem Club Touareg Forum

Electronic Child Lock Problem Club Touareg Forum

Carbar Smart Auto Car Electric Suction Door Lock For Volkswagen Vw Sharan Soft Close Super Silence Self Priming Door Aliexpress

Carbar Smart Auto Car Electric Suction Door Lock For Volkswagen Vw Sharan Soft Close Super Silence Self Priming Door Aliexpress

2 Pieces For Vw Polo Classic Derby Caddy Polo Classic Variant Door Lock Cylinder Repair Kit Front Left Right Oem 6k4837223 Aliexpress

2 Pieces For Vw Polo Classic Derby Caddy Polo Classic Variant Door Lock Cylinder Repair Kit Front Left Right Oem 6k4837223 Aliexpress

Volkswagen Sharan Alhambra 1995 2010 Sill Repair Panel Rocker Panel Right Rh Ebay

Volkswagen Sharan Alhambra 1995 2010 Sill Repair Panel Rocker Panel Right Rh Ebay

Car Exterior Door Locks For 2006 Vw Sharan For Sale Ebay

Car Exterior Door Locks For 2006 Vw Sharan For Sale Ebay

For Audi A6 Vw Polo 9n Golf Iv 4 Bora Car Door Lock Cylinder Barrel Repair Kit Front Left Right 2001 Audi A6 Allroad Car Door Lock Audi A6

For Audi A6 Vw Polo 9n Golf Iv 4 Bora Car Door Lock Cylinder Barrel Repair Kit Front Left Right 2001 Audi A6 Allroad Car Door Lock Audi A6

How The Mk5 Vw Trunk Latch Fails Youtube

How The Mk5 Vw Trunk Latch Fails Youtube

3b0837167 Door Lock Barrel Cylinder Repair Kit For Vw Passat B5 B5 5 Front L R 1996 2005 5pcs Set Aliexpress

3b0837167 Door Lock Barrel Cylinder Repair Kit For Vw Passat B5 B5 5 Front L R 1996 2005 5pcs Set Aliexpress

For Vw Polo Golf Iv 4 Bora Car Door Lock Cylinder Barrel Repair Kit Front Left Right 1u0837167e Car Door Lock Vw Mk4 Volkswagen Polo

For Vw Polo Golf Iv 4 Bora Car Door Lock Cylinder Barrel Repair Kit Front Left Right 1u0837167e Car Door Lock Vw Mk4 Volkswagen Polo

1

1

Source : pinterest.com